Автоматика распашных ворот
Автоматика для ворот распашного типа имеет два редуктора, по одному на каждую створку. Редукторы для распашных ворот могут быть линейного и рычажного типа, наружной и скрытой установки. Линейные работают по принципу червячной передачи - втулка, жестко закрепленная на створке ворот, вращается по основанию с резьбой. Двигаясь к основанию, закрепленному на столбе, она тянет за собой створку, и ворота открываются.
Линейные приводы можно устанавливать на металлические,бетонные или кирпичные столбы. В рычажном приводе используется двухсоставной рычаг, одним концом прикрепляемый к створке ворот. Такой привод может открывать ворота как внутрь, так и наружу.
-
Каждая створка ворот должна открываться отдельно?

-
Каждая створка ворот открывается без излишних усилий?
-
Имеется- ли недалеко от ворот источник питания 220В?
-
Ворота открываются наружу, или вовнутрь?
- Калитка, находится в створке ворот, или отдельно стоящая?
Что нужно знать, если Вы собираетесь установить автоматику распашных ворот:
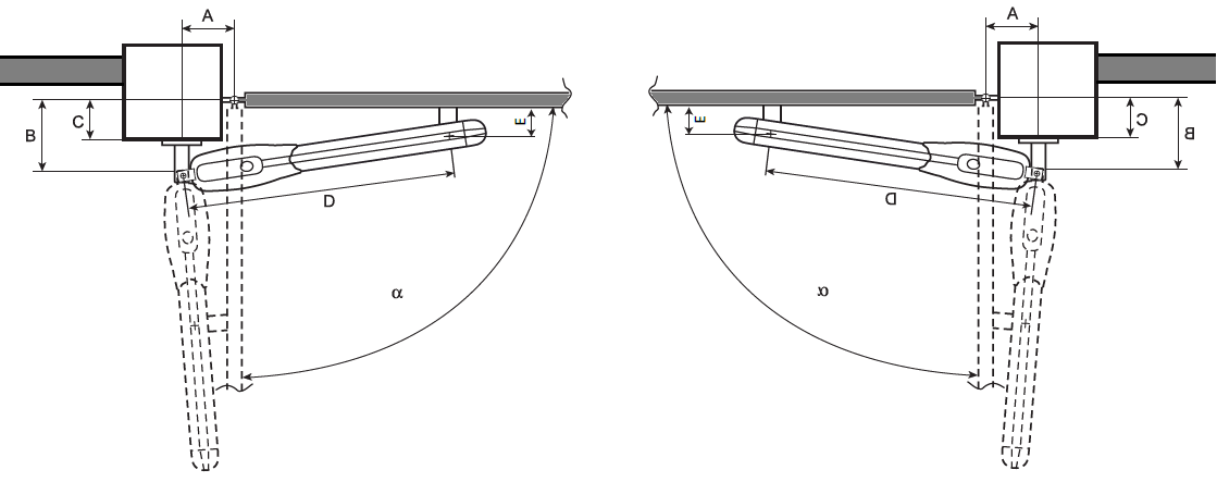
Имеет значение, куда открываются ворота наружу или вовнутрь. Наружу устанавливаются, в основном, так называемые ( длинные, имеющие длинный ход ) привода например: ROGER R20/500 , вовнутрь ( короткие) - ROGER R20/300 .
При покупке, длинные привода, дороже коротких.
Схема установки у них разные. И вот здесь начинаются для клиентов, у которых ворота открываются наружу, неожиданности, т.к. полезная ширина ворот уменьшается сантиметров на 40 (смотрите на рисунок).
Консультации по подбору, монтажу и работе оборудования БЕСПЛАТНЫ.
Створки ворот открываются наружу

Створки ворот открываются вовнутрь
.png)